| 口径 | 16A | 25A | 40A | 50A | 63A | 80A | 100A |
|---|---|---|---|---|---|---|---|
| 接続フランジ | KF16 CF16 |
KF25 CF25 |
KF40 CF40 |
KF50 CF50 |
ISO-R63 CF63 |
ISO-R80 | ISO-R100 CF100 |
| 弁板許容最大差圧 (MPa) | 0.27 | 0.24 | 0.23 | 0.2 | 0.39 | ||
| 弁開時許容最大差圧 (MPa) | 0.2 | ||||||
| 開閉動作時間(開/閉) (s) | 0.3 0.5 |
0.5 0.8 |
0.7 0.7 |
0.8 0.8 |
|||
| コンダクタンス (L/s) | 6 | 15 | 48 | 82 | 170 | 220 | 490 |
| 駆動方式 | 単動 | 複動 | |||||
真空構成部品
MAH/PAHシリーズ
高真空アングルバルブ(手動・空圧作動/SUS304L)
製品特長
- サイズは16Aから100Aまで対応。
- 空圧作動アングルバルブは電源/空圧源故障時に、スプリングにより「閉じた」状態に戻る保護機能付き。(16A~50A、単動のみ)
- バルブボディ及び内部部品はステンレス材(SUS)を使用し、幅広い用途に使用可能。
- 全シリーズで溶接ベローズAM350を採用することで、長寿命を実現しながら、大きなコンダクタンスも可能にしています。
仕様一覧
仕様
| 基本仕様 | ||
|---|---|---|
| 軸シール | AM350溶接ベローズ | |
| 弁版シール | フッ素ゴム | |
| ボンネットシール | フッ素ゴム | |
| 使用流体 | 非腐食性ガス、不活性ガス | |
| 使用圧力範囲 (Pa) | 大気圧~1.33×10⁻⁶ | |
| 使用可能温度 (℃) | 0~100 | |
| リーク量 (Pa・㎥/s) | 1.33×10⁻¹⁰, He | |
| メンテナンスサイクル (万回) | 10 ※1 | |
| 許容温度 (℃) | バルブ本体 | 開:250、閉:200 |
| 駆動部(シリンダ) | 100 | |
| 電磁弁/開閉センサー | 50 | |
| ベーキング温度 (℃) | 100 | |
| 材質 | バルブ本体 | SUS304L |
| 機構部 | SUS304L | |
| 駆動部(シリンダ) | アルミニウム | |
| 運動姿勢 | 自在 | |
| シリンダ供給圧空圧力 (MPaG) | 0.4~0.55 | |
| シリンダ接続口径 | Rc ⅛” | |
| 開閉センサー取付 ※2 | オートスイッチ | |
| 電磁弁 ※2 | 標準DC24V | |
※1:使用状況、環境により変わります。
※2:開閉センサー、電磁弁はオプション品です。
機種別仕様
外観寸法図
型式説明(MAH/PAHシリーズ)

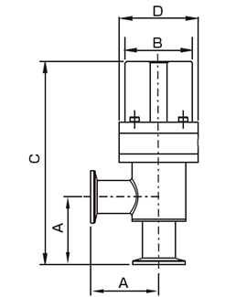
手動アングルバルブ
KFフランジ

| 型式 | MAHWK016 | MAHWK025 | MAHWK040 | MAHWK050 |
|---|---|---|---|---|
| 接続フランジ | KF16 | KF25 | KF40 | KF50 |
| A | 40 | 50 | 65 | 70 |
| B | 60 | 60 | 60 | 60 |
| C | 123 | 130 | 155 | 179 |
| D | 137 | 144 | 179 | 213 |
| E | 61 | 61 | 77 | 85 |
CFフランジ

| 型式 | MAHWC016 | MAHWC040 | MAHWC063 |
|---|---|---|---|
| 接続フランジ | CF16 (φ34) |
CF40 (φ70) |
CF63 (φ114) |
| A | 41 | 63 | 91 |
| B | 60 | 60 | 60 |
| C | 124 | 153 | 210 |
| D | 138 | 177 | 265 |
| E | 61 | 77 | 102 |
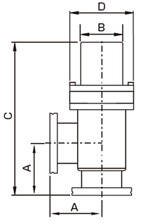
空圧作動アングルバルブ
KFフランジ

| 型式 | PAHWK016 | PAHWK025 | PAHWK040 | PAHWK050 |
|---|---|---|---|---|
| 接続フランジ | KF16 | KF25 | KF40 | KF50 |
| A | 40 | 50 | 65 | 70 |
| B | 52 | 52 | 180 | 67 |
| C | 151 | 158 | 176 | 236 |
| D | 61 | 61 | 77 | 85 |
ISO-Rフランジ

| 型式 | PAHWR063 | PAHWR080 | PAHWR100 |
|---|---|---|---|
| 接続フランジ | ISO-R63 | ISO-R80 | ISO-R100 |
| A | 88 | 90 | 108 |
| B | 70 | 82 | 89 |
| C | 248 | 284 | 338 |
| D | 102 | 132 | 165 |
CFフランジ

| 型式 | PAHWC016 | PAHWC040 | PAHWC063 | PAHWC100 |
|---|---|---|---|---|
| 接続フランジ | CF16 (φ34) |
CF40 (φ70) |
CF63 (φ114) |
CF100 (φ152) |
| A | 41 | 63 | 91 | 113 |
| B | 52 | 65 | 70 | 89 |
| C | 151 | 178 | 251 | 342 |
| D | 61 | 77 | 102 | 165 |
※無断転載はご遠慮下さい。掲載内容は通告無しに変更する場合があります。
